屏下Touch ID专利获批 iPhone Fold有望使用

发表于 2026-2-12 20:05:04 来自手机 | 显示全部楼层 |阅读模式
342 0
近日,苹果公司一项新获批的专利引发行业广泛关注。该专利虽以《具备局部亮度调节功能的显示屏》命名,名称较为隐晦,但其核心内容直指屏下指纹识别(Touch ID)技术,有望为传闻中的iPhone Fold折叠屏机型提供新的生物识别解决方案,打破此前业内对其采用侧边集成Touch ID的普遍预测。
外界普遍预计,iPhone Fold折叠屏机型因机身设计极致纤薄,无法容纳Face ID组件,因此Touch ID成为其唯一可行的生物识别方案。此前,多数行业报道预测,iPhone FOLD将沿用2020年第四代iPad Air推出的侧边集成Touch ID方案,虽有零星消息提及屏下指纹可能性,但并未获得广泛认可。
PIAFiTNiHzrnHFim.jpg




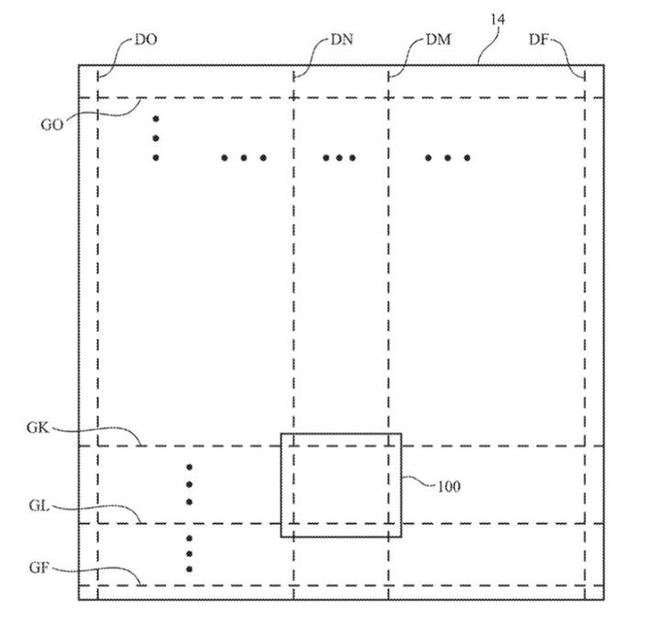
此次获批的专利,首次清晰披露了苹果在屏下Touch ID领域的技术探索。与常规的屏幕亮度调节不同,该专利所述的局部亮度调节功能,不涉及根据环境光调整亮度的机制,而是专门为指纹识别设计,通过控制电路驱动屏幕特定像素点,发出类似闪光灯的光线,为指纹采集提供光源支持。
苹果在专利文件中详细描述了技术原理,称该设备可搭载组件阵列,例如光传感器阵列,通过显示屏上对应的透明窗口阵列采集用户指纹。控制电路可驱动显示屏点亮部分像素,从而照亮用户手指,使其反射光照射到光传感器阵列上,完成指纹采集。
p32PlHY9PYY33W4H.jpg




该技术的核心优势的在于,指纹识别过程中,屏幕局部闪光不会影响整机正常显示,可保持屏幕可读性。专利中虽提及整块屏幕闪光的方案,但仅用于检测用户手指位置,并非常规识别场景。从专利附图来看,该方案需在屏幕上划定特定区域用于指纹识别,暂不支持全屏任意位置解锁。
业内人士分析认为,这项屏下Touch ID技术大概率为iPhone系列手机研发,且重点适配iPhone Fold折叠屏机型,以解决其机身过薄无法搭载Face ID的痛点。但目前尚无法判断该技术是否会应用于初代iPhone Fold,苹果仍有可能因后续技术突破,比如屏下Face ID落地,而放弃这一研发方向。
全部评论

暂无评论,期待您打破宁静

您需要登录后才可以回帖 登录 | 立即注册
发表评论
发布 联系QQ